画面表示の種類について

フロントビュー/リヤビュー
  • 車両の前方/後方の映像をインテリジェント アラウンドビューモニター右側画面に表示します。

距離目安ライン

  • 車体からの距離の目安を表示します。

    • (1)赤色:約0.5m

    • (2)黄色:約1m

    • (3)緑色:約2m

    • (4)緑色:約3m

(5)車幅目安ライン

  • 車幅の目安を示します。

(6)予想進路線

  • 運転操作時に予想進路を表示します。予想進路線は、ハンドルを切ったときに表示されます。予想進路線はハンドルを切った角度に応じて移動し、ハンドルを中立位置にすると表示されなくなります。

  • フロントビューは、車速が約10km/hを超えると表示されなくなります。

  • フロントビューが表示されているときに、中立位置から約90度の範囲内でハンドルを切ると、予想進路線が左右に表示されます。約90度以上ハンドルを切ると、予想進路線はハンドルを切った方向とは逆方向にのみ表示されます。

  • リヤビューモニターの映像は、ルームミラーやドアミラーで見るのと同様に左右反転させた映像です。

  • 雪道や滑りやすい路面では、予想進路線と実際の進路が異なることがあります。

  • リヤビューカメラは車幅の中心よりずれた位置に取り付けられているため、リヤビューの表示は多少右にずれて見えます。

トップビュー

プロパイロット パーキング付車

  • 自車位置や駐車スペースへの進入コースが分かりやすい、車両を上から見たような映像をインテリジェント アラウンドビューモニター左側画面に表示します。

  • 車両アイコン(1)は、自車位置を示しています。トップビューに表示される障害物までの距離は、実際とは異なることがあります。

  • 予想進路線(2)はハンドルを切った角度のまま進んだときの予想進路を表示します。

プロパイロット パーキング無車

  • 自車位置や駐車スペースへの進入コースが分かりやすい、車両を上から見たような映像をインテリジェント アラウンドビューモニター左側画面に表示します。

  • 自車(1)は、自車位置を示しています。トップビューに表示される障害物までの距離は、実際とは異なることがあります。カメラでは撮影できない領域トップビュー境目(2)は、黒色で表示されます。

  • 電源ポジションをONにし、トップビューを表示すると、トップビュー境目(2)と撮影されないコーナー部分(3)は、約4秒間黄色で強調表示されます。ソナーがOFFのとき、撮影されないコーナー部分(3)は赤色で表示されます。

サイドブラインドビュー
  • 車両の左側前輪付近から前方を、インテリジェント アラウンドビューモニター左側画面に表示します。道路端への幅寄せ駐車などに便利です。

目安ライン

  • モニターには車幅と車両の前端を示す目安ラインが表示されます。

    — (1)前端目安ラインは、車両前部の位置の目安を示します。

    — (2)側方目安ラインは、ドアミラーを含めた車幅の目安を示します。

    — (3)前端目安ラインと側方目安ラインの延長線は、緑色の破線で表示します。

ソナー表示

  • (4)ソナー表示はソナーが障害物を検知すると、表示されます。

  • 方向指示器の光が側方目安ラインと重なる場合がありますが、異常ではありません。

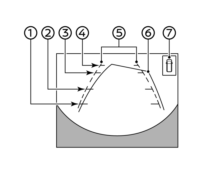
プロパイロット パーキング付車 : 全画面フロントワイドビュー/全画面リヤワイドビュー
  • 車両の前方/後方の映像を、画面いっぱいに表示します。

距離目安ライン

  • 車体からの距離の目安を表示します。

    • (1)赤色:約0.5m

    • (2)黄色:約1m

    • (3)緑色:約2m

    • (4)緑色:約3m

(5)車幅目安ライン

  • 車幅の目安を示します。

(6)予想進路線

  • 運転操作時に予想進路を表示します。ハンドルを切った角度に応じて移動します。

(7)ソナー表示

  • ソナーが障害物を検知すると表示します。

  • リヤビューモニターの映像は、ルームミラーやドアミラーで見るのと同様に左右反転させた映像です。

  • 雪道や滑りやすい路面では、予想進路線と実際の進路が異なることがあります。

  • リヤビューカメラは車幅の中心よりずれた位置に取り付けられているため、リヤビューの表示は多少右にずれて見えます。

プロパイロット パーキング無車 : リヤビュー(全画面表示)
  • 車両の後方の映像を画面幅いっぱいに表示します。

距離目安ライン

  • 車体からの距離の目安を表示します。

    • (1)赤色:約0.5m

    • (2)黄色:約1m

    • (3)緑色:約2m

    • (4)緑色:約3m

(5)車幅目安ライン

  • 車幅の目安を示します。

(6)予想進路線

  • 運転操作時に予想進路を表示します。予想進路線は、ハンドルを切ったときに表示されます。予想進路線はハンドルを切った角度に応じて移動し、ハンドルを中立位置にすると表示されなくなります。

(7)ソナー表示

  • ソナーが障害物を検知すると表示します。

  • リヤビューモニターの映像は、ルームミラーやドアミラーで見るのと同様に左右反転させた映像です。

  • 雪道や滑りやすい路面では、予想進路線と実際の進路が異なることがあります。

  • リヤビューカメラは車幅の中心よりずれた位置に取り付けられているため、リヤビューの表示は多少右にずれて見えます。