車両の前方/後方の映像をインテリジェント アラウンドビューモニター右側画面に表示します。


距離目安ライン
車体からの距離の目安を表示します。
(1)赤色:約0.5m
(2)黄色:約1m
(3)緑色:約2m
(4)緑色:約3m
(5)車幅目安ライン
車幅の目安を表示します。
(6)予想進路線
運転操作時に予想進路を表示します。予想進路線は、ハンドルを切ったときに表示されます。予想進路線はハンドルを切った角度に応じて移動し、ハンドルを中立位置にすると表示されなくなります。
フロントビューは、車速が約10km/hを超えると表示されなくなります。

リヤビューに表示される障害物までの距離は、実際とは異なることがあります。
フロントビューが表示されているときに、中立位置から約90度の範囲内でハンドルを切ると、予想進路線が左右に表示されます。約90度以上ハンドルを切ると、予想進路線はハンドルを切った方向とは逆方向にのみ表示されます。
リヤビューモニターの映像は、ルームミラーやドアミラーで見るのと同様に左右反転させた映像です。
雪道や滑りやすい路面では、予想進路線と実際の進路が異なることがあります。
リヤビューカメラは車幅の中心よりずれた位置に取り付けられているため、リヤビューの表示は多少右にずれて見えます。

自車位置や駐車スペースへの進入コースが分かりやすい、車両を上から見たような映像をインテリジェント アラウンドビューモニター左側画面に表示します。
車両アイコン(1)は、自車位置を示しています。トップビューに表示される障害物までの距離は、実際とは異なることがあります。カメラでは撮影できない領域トップビュー境目②は、黒色で表示されます。
パワースイッチをONにし、初めてトップビューを表示すると、トップビュー境目(2)と撮影されないコーナー部分(3)は、約3秒間黄色で強調表示されます。ソナーがOFFのとき、撮影されないコーナー部分(3)は赤色で表示されます。

ドアミラー、車両前方、車両後方に装着されているカメラからの映像を組み合わせて処理した疑似的な映像のため、トップビューは、障害物を実際より遠く映します。
囲いや車両といった高さのある障害物は、映像の継ぎ目で位置がずれたり、表示されないことがあります。
カメラの高さよりも上にある障害物は表示されません。
トップビューの映像は、カメラの位置が変化するとずれることがあります。
路上の線は映像の継ぎ目でずれたり、曲がって見えたりすることがあります。ずれは、車両から遠ざかるにつれて大きくなります。

車両の左側前輪付近から前方を、インテリジェント アラウンドビューモニター左側画面に表示します。道路端への幅寄せ駐車などに便利です。
目安ライン
モニターには車幅と車両の前輪を示す目安ラインが表示されます。
(1)前端目安ラインは、車両前部の位置の目安を示します。
(2)側方目安ラインは、ドアミラーを含めた車幅の目安を示します。
(3)前端目安ラインと側方目安ラインの延長線は、緑色の破線で表示します。
ソナー表示
(4)ソナー表示は、ソナーが障害物を検知すると、表示されます。
方向指示器の光が側方目安ラインと重なる場合がありますが、異常ではありません。
サイドブラインドビュー表示中に、約10km/h以上になると画面の一部がグレーとなりますが、異常ではありません。
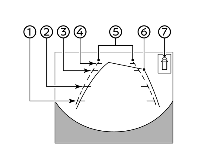
車両の後方の映像を画面幅いっぱいに表示します。

距離目安ライン
車体からの距離の目安を表示します。
(1)赤色:約0.5m
(2)黄色:約1m
(3)緑色:約2m
(4)緑色:約3m
(5)車幅目安ライン
車幅の目安を示します。
(6)予想進路線
運転操作時に予想進路を示します。予想進路線は、ハンドルを切ったときに表示されます。予想進路線はハンドルを切った角度に応じて移動し、ハンドルを中立位置にすると表示されなくなります。
(7)ソナー表示
ソナーが障害物を検知すると表示します。

リヤビューに表示される障害物までの距離は、実際とは異なることがあります。
リヤビューモニターの映像は、ルームミラーやドアミラーで見るのと同様に左右反転させた映像です。
雪道や滑りやすい路面では、予想進路線と実際の進路が異なることがあります。
リヤビューカメラは車幅の中心よりずれた位置に取り付けられているため、リヤビューの表示は多少右にずれて見えます。