車両の前方/後方の映像をインテリジェント アラウンドビューモニター右側画面に表示します。

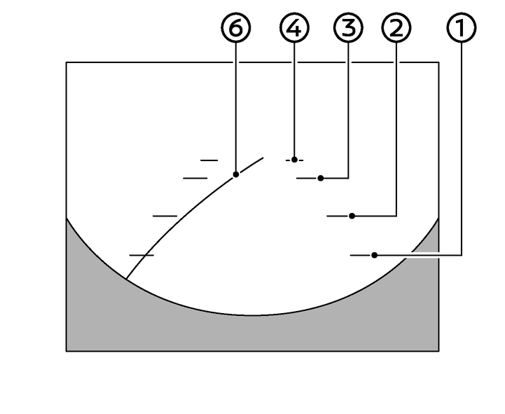
フロントビュー

リヤビュー
距離目安ライン:
車体からの距離の目安を示します。
(5)車幅目安ライン:
後退時の車幅の目安を示します。
(6)予想進路線:
運転操作時に予想進路を示します。予想進路線は、ハンドルを切ったときに表示されます。予想進路線はハンドルを切った角度に応じて移動し、ハンドルを中立位置にすると表示されなくなります。
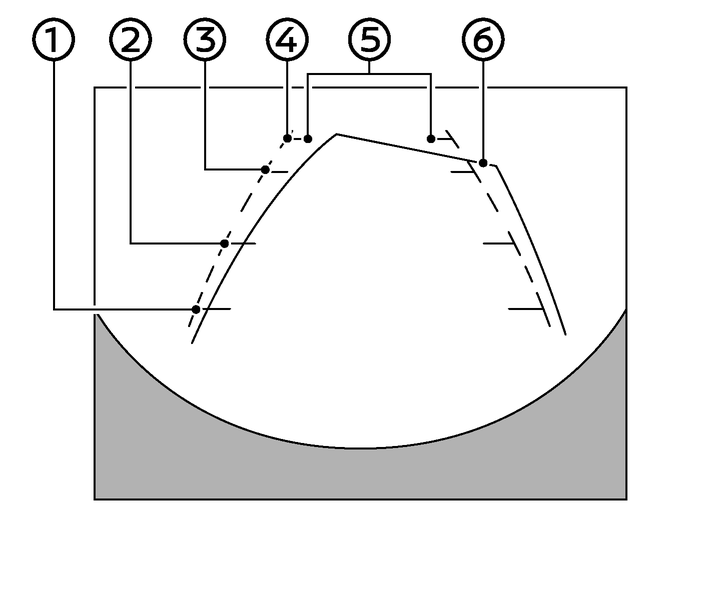
フロントビューは、車速が10km/hを超えると表示されなくなります。
警告
リヤビューに表示される障害物までの距離は、実際とは異なることがあります。
リヤビューモニターの映像は、ルームミラーやドアミラーで見るのと同様に左右反転させた鏡像です。
雪道や滑りやすい路面では、予想進路線と実際の進路が異なることがあります。
リヤビューカメラは車幅の中心よりずれた位置に取り付けられているため、リヤビューの表示は多少右にずれて見えます。
注意
フロントビューが表示されているときに、中立位置から約90度の範囲内でハンドルを切ると、予想進路線が左右に表示されます。約90度以上ハンドルを切ると、予想進路線はハンドルを切った方向とは逆方向にのみ表示されます。