Back

サイドブラインドビュー

SearchHome
車両の左側前輪付近から前方を、アラウンドビューモニター左側画面に表示します。道路端への幅寄せ駐車などに便利です。
JVH0689X_1
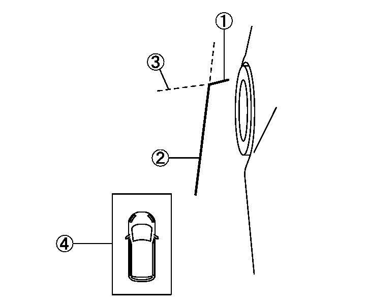
目安ライン: 
モニターには車幅と車両の前端を示す目安ラインが表示されます。
  • 前端目安ライン(1)は、車両前部の位置の目安を示します。
  • 側方目安ライン(2)は、ドアミラーを含めた車幅の目安を示します。
  • 前端目安ライン(1)と側方目安ライン(2)の延長線(3)は、緑色の破線で表示されます。
ソナー表示: 
サイドブラインドビューを表示させるとソナー表示(4)を表示します。(フロント&バックソナー機能付車)
フロント&バックソナー★ 

注意

  • カメラから汚れや雪を取り除くときに、カバーに傷をつけないよう注意してください。
  • 方向指示器の光が側方目安ラインと重なる場合がありますが、異常ではありません。

 

Back