Back

エコドライブインジケーター

SearchHome
JVI0520X_1
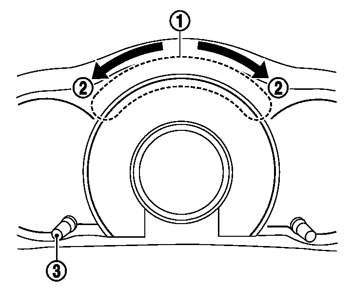
ECOモードで走行中、アクセルペダル操作に応じてエコドライブインジケーター(1)が3段階で点灯します。(セレクトレバーが R のときは、点灯しません。)
エコドライブをするほど、(2)の方向にインジケーターが広範囲点灯します。
スイッチ(3)を約2秒以上押すと、エコドライブインジケーターの表示/非表示を切り替えることができます。
 
 

Back