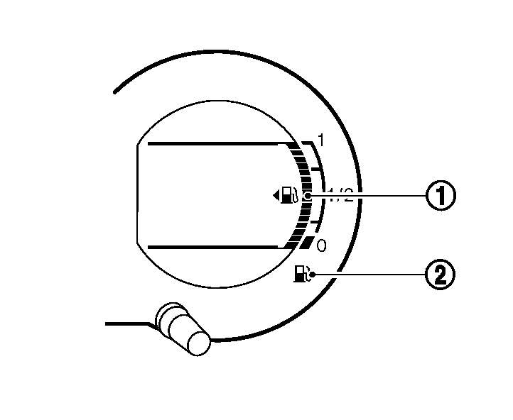
矢印(

)は、燃料補給口が車両左側にあることを示しています。
注意
燃料計が0(ゼロ)になる前に燃料を補給してください。
燃料計が0(ゼロ)を示していても、タンク内には少量の燃料が残っています。

タイプA

タイプB
燃料計(1)は、キースイッチ(電源ポジション)がONのとき、燃料の残量を表示します。
坂道やカーブなどでは、タンク内の燃料が移動するため、燃料計の表示が上下することがあります。
燃料残量警告灯(2)は、タンク内の燃料の残量が少なくなると点灯します。燃料計が0(ゼロ)になる前に、できるだけ早く燃料を補給してください。