
タイプA

タイプB
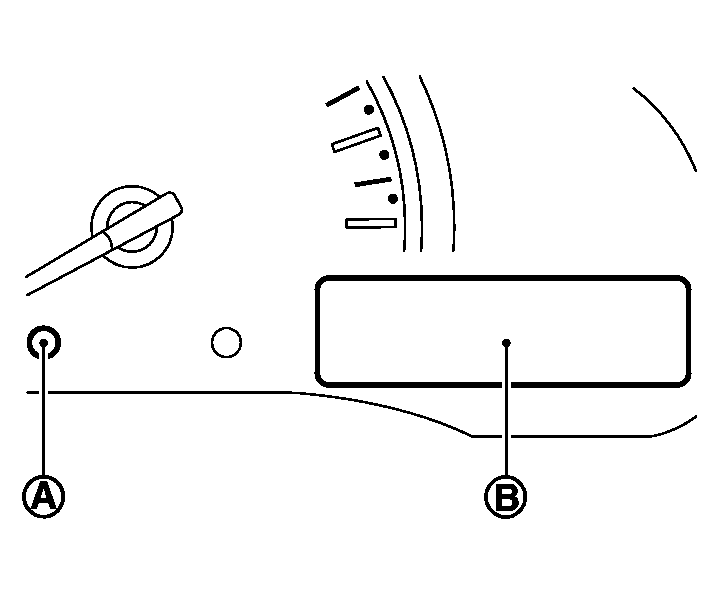
モード切り替えスイッチ(A)はメーターパネルにあります。
モード切り替えスイッチ(A)で選択した項目は、ディスプレイ(B)に表示されます。
キースイッチ(電源ポジション)がONのとき、モード切り替えスイッチ(A)を押してトリップコンピューターを選択できます。
モード切り替えスイッチ(A)を押すごとに、次の順で各モードに切り替わります。
オドメーター → トリップA → トリップB → 瞬間燃費 → 平均燃費 → 航続可能距離 → 外気温度計(タイプB)★→ 時計調整モード(タイプB)→ オドメーター
瞬間燃費(km/l)
走行中の瞬間燃費を表示します。
平均燃費(AVG. km/l)
リセットしてから次にリセットするまでの平均燃費を表示します。
リセットするときは、モード切り替えスイッチ(A)を1秒以上押します。
表示は約30秒ごとに更新されます。リセット後、約500m走行するまでは、“---”が表示されます。
航続可能距離(km)
現在の燃料残量と平均燃費から走行可能な距離を表示します。
航続可能距離が少なくなったとき(燃料残量が少なくなったとき)は、表示が点滅します。
燃料残量がさらに少なくなると、“----”に変化します。
表示は約30秒ごとに更新されます。
補給した燃料が少量の場合は、キースイッチ(電源ポジション)をOFFにする直前の表示が表示され続けることがあります。
坂道やカーブなどを走行すると、タンク内の燃料が移動し、一時的に表示が変化することがあります。
外気温度計(タイプB)★
外気温を表示します。
外気温が3℃以下になると、外気温の表示を点滅させて運転者に知らせます。
点滅表示は、約1分経過するか外気温が4℃以上になると通常表示に戻ります。
時計調整モード(タイプB)
トリップコンピューターをリセットするには
平均燃費またはトリップBが表示されているときに、モード切り替えスイッチ(A)を約3秒以上押します。平均燃費とトリップメーター(トリップBのみ)が同時にリセットされます。