Back

(9)イルミネーションコントロールスイッチ

SearchHome
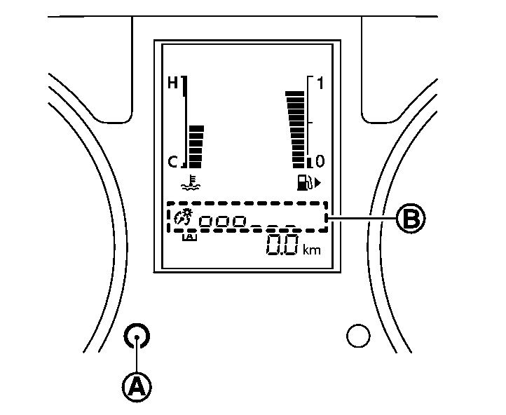
キースイッチ(電源ポジション)がONでライトが点灯しているとき、メーター照明の明るさを調節できます。
  • イルミネーションコントロールスイッチ(A)を左右に回して調節します。
    • 右に回す:明るくなる
    • 左に回す:暗くなる
  • 明るさのレベル表示は、車両情報ディスプレイ(B)に表示されます。
JVI0404X_1

知識

  • バッテリーを外すと調節した記憶は消去されます。
  • 明るさを調節し、イルミネーションコントロールスイッチを約5秒間操作しないと自動的に決定されます。

 

Back