
タイプA

タイプB
次のときに表示します。
キースイッチ(電源ポジション)をOFFにしてから30秒間(タイプA)
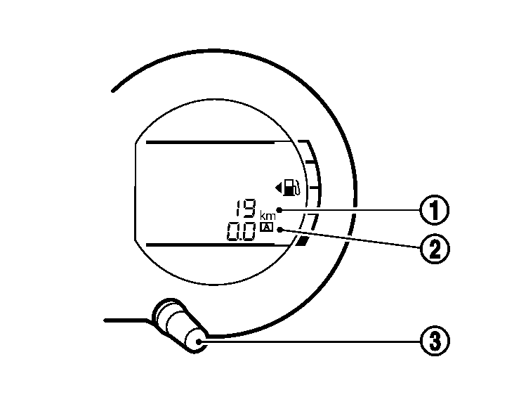
オドメーター(1)は、車両の総走行距離を表示します。
ツイントリップメーター(2)は、2種類の区間走行距離を表示します。
ツイントリップメーターの表示を変更するには
スイッチ(3)を押すごとに、表示は次の順で切り替わります。
タイプA:
トリップA → トリップB → トリップA
タイプB:
オドメーター → トリップA → トリップB → トリップコンピューターモード → オドメーター
ツイントリップメーターをリセットするには
0(ゼロ)にしたいほうを表示させ、スイッチ(3)を約1秒以上押します。